Kurz oder Normalkiel der VA65 erkennen.

Brandung
Beiträge: 3
Registriert: Sa 13. Apr 2024, 20:13

Kurz oder Normalkiel der VA65 erkennen.

Ungelesener Beitrag von Brandung »

Moin,
die Varianta 65 gibt es ja als 70cm und 55cm Variante. Nun ist meine Frage, wie erkenne ich das zuverlässig?
Anhand von welchen Punkten könnte ich das ermessen? Mal abgesehen von Unterkante Kiel bis Oberkante Antifouling.

Das Internet gibt leider nicht allzu viel her und mein Wissen basiert auf dem was mir ein Bekannter erzählt hat, naja ich dachte ich sei damit gut aufgestellt :roll:

Hintergrund ist der das ich mir gerade eine Varianta 65 gekauft habe. Angeboten wurde sie als 55cm Variante, ich bin aber der Meinung das sie 70cm Tiefgang hat.
Auch wenn ich eigentliche eine mit 55cm haben wollte, war das Angebot so gut das ich zugeschlagen habe.

Ich würde mich freuen, wenn mich einer von meinem Halbwissen befreien könnte.

Lg Jan (seit neustem glücklicher Varianta Eigner)
kosarsegler
Beiträge: 399
Registriert: Fr 30. Nov 2012, 19:22
Bootstypen: Varianta 65 - Blaue Ente - 1366
OK Jolle - Das bockige Ponny
Heimatrevier: Baldeneysee
Verein: Segelgemeinschaft Baldneysee e.V. (SGB)
Wohnort: Köln

Re: Kurz oder Normalkiel der VA65 erkennen.

Ungelesener Beitrag von kosarsegler »

Hallo Jan,
am Besten wäre natürlich messen.
Wenn der (GfK-)Rumpf gleich und nur der (Guß-)Kiel unterschiedlich lang ist könnte man von der Unterkante des Kiels bis zur Fuge zwischen Kiel und Rumpf messen.
Ich habe mein Boot leider in Holland im Wasser. Daher kann ich dieses Maß für normalen Tiefgang nicht messen.
Du müsstest aber schon optisch den Unterschied erkennen können: Ist der Kiel 20 cm kürzer steht das Boot auch 20 cm tiefer auf dem Trailer. Der Kiel müsste kürzer wirken, die seitlichen Auflagen des Trailers sichtbar niedriger sein und das ganze Boot niedriger auf dem Trailer stehen.

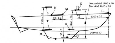
Außerdem ist mir gerade aufgefallen, das in der Klassenvorschrift ein Maß von der Unterkante des Masts bis Unterkante des Kiels für beide Varianten angegeben ist:
grob 1,75 m oder 1,60 vom Kajütdach bis Unterkante Kiel; beides mit +- 2 cm.
(Klassenvorschrift: https://www.varianta.org/downloads/ und dann die Klassenvorschrift auswählen.)
Gruß Walter
Dateianhänge
Maße Rumpf.JPG
A Varianta 18.12.12 024 B.jpg
Brandung
Beiträge: 3
Registriert: Sa 13. Apr 2024, 20:13

Re: Kurz oder Normalkiel der VA65 erkennen.

Ungelesener Beitrag von Brandung »

Hallo Walter, erst einmal danke für deine Antwort!
Ich habe des Rätsels Lösung Tatsächlich in einem Zubehör Katalog gefunden, der mir der Voreigner mit ein paar anderen Unterlagen übergeben hat.
Darin ist ein Bild mit beiden Kiel Varianten im direkten Vergleich zu sehen, ich war mal so frei und habe das Bild für die Nachwelt Digitalisiert.

Sonderausführung.jpeg

Mein Boot mit kurzem Kiel
WhatsApp Image 2024-05-18 at 23.27.03.jpeg

Varianta mir Langen/Normalen Kiel
251ae9d2-0444-4282-b247-de5a7f9d8e17.jpeg


Ich habe auch mal mein Keil vermessen
Höhe: von Unterkante Kiel bis Oberkante (Stoß GFK) 26cm
Länge Oben: 206 cm
Länge Unten: 188 cm

Wenn man weiß worauf man zu achten hat, lässt sich die Kiel Variante auf den ersten Blick bestimmen, der Normale Kiel verjüngt sich Trapezförmig nach unten während der kurze Kiel fast senkrecht nach unten geht.

Wenn jetzt noch jemand seinen Normalen Kiel vermisst,wird das ein richtig Informativer Beitrag.

Lg Jan
Antworten